交汇点讯 2020江苏省公务员考试报名于11月4日16:00结束。据统计,7985个岗位吸引17.1万人报名,最高竞争比达到了906:1。和2019年同期相比,成功报名人数减少了约4000人。197个职位无人报考,同时,还有695个职位没有达到规定的1:3的开考比例。
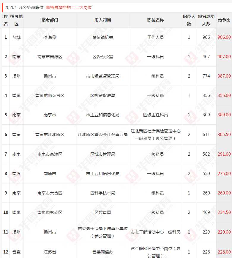
报名人数最多的岗位是盐城市滨海县蔡桥镇机关,报名人数达906人,原因是不限专业且学历要求较低,为“大专及以上”。其次是南京市高淳区区委办公室一级科员岗位,407人争一岗。

从报名人数分布来看,南京、苏州两地的成功报名人数依然领先,分别为2.99万人和2.67万人,二者岗位竞争比分别为54.3:1和34.9:1。
截至报名结束,有197个职位无人成功报名,主要集中在基层一线执法、派驻纪检监察、乡镇机关等相关职位。

记者注意到,省考报名最后一天,报名人数从3日的9万人爆发式增长最终突破17万人。相对于2019年省公考,2020年岗位数量增加,报名总人数减少,最火岗位竞争比也相应有所下降。
小编提醒报名成功的考生在11月7日前及时缴费,也提醒还在审核的考生注意关注报考系统,及时重新选择或者缴费。
交汇点记者 郁芬











 
         




